Absztrakt
Precíziós multifunkcionális progresszív bélyegzés, amely alsó szerszámot, felső szerszámot, valamint belső és külső vezető mechanizmusokat tartalmaz. A felső szerszám tartalmaz egy felső szerszámot, egy konvex szerszámpadot, egy domború szerszám rögzítőtáblát, egy kisülési padot és egy kisülési lemezt. Az alsó szerszám magában foglalja az alsó szerszámot, a konkáv szerszámpadot és a konkáv sablont; A külső irányító mechanizmus tartalmaz egy nagy vezetési oszlopot, egy nagy gömbhüvelyt, egy nagy vezetőhüvelyt és egy rugót, míg a belső vezető mechanizmus tartalmaz egy kis vezető oszlopot, egy kis gömbhüvelyt, egy kis vezetőhüvelyt és egy rugót; Feldolgozási funkciója a kisülési lemez és a konkáv sablon összeszerelése a feldolgozáshoz.
Leírás
Precíziós multifunkcionális progresszív bélyegzés és annak gyártási módszere
Műszaki terület
A jelen találmány egy nagysebességű bélyegző szerszámhoz kapcsolódik, különféle vezetékek, terminálok, csatlakozók, rugók és különféle kis hardver alkatrészek előállításához, elsősorban egy precíziós multifunkciós progresszív bélyegzésre és gyártási módszerére utalva.
Háttér -technológia
Vannak bizonyos hibák a meglévő bélyegzési halálok felépítésében és feldolgozási technológiájában, különböző mértékben. Például a szerkezet szempontjából általában csak négy útmutató oszlop van. Amikor a vezetőoszlopok viselik és elveszítik pontosságukat, az egész szerszám csak a domború penész rögzítési módszerét lehet eltávolítani, általában szorosan illeszkedik, ami rendkívül kellemetlen a karbantartáshoz; ③ A kis útmutató oszlopot a domború penész rögzítő lemezen rögzítik, és a kisülési lemez és a konkáv sablon található. A feldolgozási technológia az anyag előkészítését alkalmazza → durva megmunkálás őrlési és fúrási fogókkal → hőkezelés → lapos őrlés → huzalvágás → szerelőegység. Amikor a sablont online vágják, az egyes darabokat a rajz szerint külön -külön dolgozják fel, és a sablon üregének megmunkálási pontosságát a szerszámgép pontossága teljesen garantálja, általában lassú huzalvágással. A fenti okok közvetlenül befolyásolják a penész pontosságát és szolgálati élettartamát.
SA találmány ummary
A jelen találmány célja egy precíziós, multifunkcionális progresszív bélyegzés és annak gyártási módszerének biztosítása, amely legyőzi a meglévő szerszámok hiányosságait a szerszámszerkezet és a feldolgozási technológia javításával.
A jelen találmány megvalósításának technikai megoldása a következő: Ez a bélyegzés sablont, egy útmutató oszlopot, konkávi szerszámot, konvex szerszámot és kisülési lemezt tartalmaz. Fő szerkezete továbbá az alsó szerszámot, a felső szerszámot, a külső vezető mechanizmust és a belső útmutató mechanizmust tartalmazza. A felső szerszám tartalmaz egy felső szerszámot, egy konvex szerszámpadot, egy konvex szerszám rögzítő lemezt, egy kisülési padot és egy kisülési lemezt. Az alsó szerszám egy alsó szerszámot, konkáv szerszámpadot és konkávi szerszámot tartalmaz. A felső szerszám ülés, a konvex szerszámpad és a domború szerszám rögzítő lemez csavarokkal és csapokkal van összekapcsolva. Az alsó szerszám ülés, a konkáv sajtpad és a konkáv sajtolószíj és csapok összekapcsolódnak. A kisülési padot és a kisülési lemezt csavarokkal kell összekapcsolni; A külső vezető mechanizmus tartalmaz egy nagy útmutató oszlopot, egy nagy gömbhüvelyt, egy nagy vezetőhüvelyt és egy rugót. A belső vezető mechanizmus tartalmaz egy kis útmutató oszlopot, egy kis gömbhüvelyt, egy kis vezető hüvelyt és egy rugót. A nagy vezető oszlop egyik végét az alsó penész ülésen rögzítik, a felső végét pedig egy nagy golyós hüvelygel kell felszerelni. A nagy vezető hüvely a nagy gömbhüvelyen kívül van rögzítve, és a nagy vezető hüvelyt a felső formájú ülésen rögzítik. A rugót a tengely válla és a nagy gömbhüvely közötti nagy vezetőoszlopra állítják. A kis vezető hüvely két vége kis gömbhüvelyekkel van felszerelve, és a kis vezető hüvelyek kívül vannak a kis gömbhüvelyeknél. A kis vezető hüvelyeket a felső öntvény ülés, a domború penészpárnák, a domború penész rögzítő lemez és az alsó penész ülés, a konkáv formájú pad és a konkáv sablon között helyezik el. A rugók a kis útmutató oszlopokon vannak beállítva. A gömbhüvely és a felső és az alsó penész ülések között.
A műszaki megoldás magában foglalja a következőket is:
A felső forma ülés a domború penészpadhoz és a domború penész rögzítő lemezhez van csatlakoztatva a belső hatszögletű csavarokon keresztül, és a kisülési lemezt és a kisülési betétet az egyenlő magasságú oszlophoz és a felső formás ülés domború penész rögzítőtáblájához csatlakoztatják a belső hatszögletű csavarokon keresztül. A domború penészpárnák és a domború penész rögzítő lemezen lévő kisülési pad közötti csavarok azonos magasságú oszlopokkal vannak felszerelve, és a felső formájú ülésen lévő megfelelő belső hatszögletű csavarok erős rugókkal és kompressziós csavarokkal vannak felszerelve.
Fej nélküli csavarok vannak az alsó penész ülésen, a körmöket a konkáv penészpadon és a konkáv sablonban, a kiegészítő vezeték körmöket a kisülési lemezen, a kiürítőpadon lévő csavarok és a kiegészítő vezető körmöknek megfelelő körmök emelése. A fej nélküli csavar és az emelő köröm között rugót kell biztosítani, és a fej nélküli csavar és a kiegészítő vezető köröm között egy rugó van; Van egy másik fej nélküli csavar a felső öntvény ülésen, és egy fővezető csavar van ellátva a domború penész rögzítő lemezen, a kirakodópadon és a kirakodólapon, a csavar és a fővezető közötti rugóval; Lyukasztó domború penészeket kell felszerelni a domború penész rögzített lemezére, a kirakodópadra és a kirakodólapra; Vannak csavarok és domború penész blokkok a domború penészlemez rögzítéséhez a domború penész rögzítő lemezen.
Ragasztó van a nagy vezetési hüvely és a felső penészülés között; Az anaerob ragasztót a kis vezető hüvely és a konkáv és domború penész rögzítő lemezek közé kell felszerelni.
A sablon penészürege betétekkel van felszerelve.
A találmány szerinti megvalósítás módszere magában foglalja az anyag előkészítését, a durva megmunkálást, a hőkezelést, az őrlést, a huzalvágást és az összeszerelést; Jellemzője, hogy a kisülési lemez és a konkáv sablon online vágásában a kisülési lemez és a konkáv sablon össze van rögzítve a feldolgozáshoz.
A módszer magában foglalja a következőket is:
A sablon penészürege beágyazott típusú.
A huzalvágás gyors huzalvágás.
A jelen találmány kedvező hatása a következő:
1. végtelen élettartam.
Ennek a penészszerkezetnek az irányító rendszere két független rendszerre oszlik, a belső és a külső. Négy nagy útmutató oszlop található a külső oldalon, és a belső oldalon négy kis útmutató oszlop található. A belső útmutató oszlop cseréjekor a külső nagy útmutató oszlopot használják referenciaként, és a nagy útmutató oszlop cseréjekor a belső kis útmutató oszlopot használják referenciaként. Ez biztosítja, hogy a penész minden részét kicseréljék, és a penész korlátlan élettartamot érjen el.
2. lebegő domború penész.
Ennek a penésznek a szerkezete úszó módszert alkalmaz a domború penész rögzítésére, a csavarok pedig az oldalán a domború penész megnyomásával. A domború penész és a domború penész rögzítő lemez együtt csúszik, és csúszik együtt a kisülési lemezkel, amely kényelmes a szétszereléshez és a karbantartáshoz. A konvex penész és a konkáv penész működési pontosságát a kisülési lemez teljesen garantálja.
3. Kis útmutató oszlop rögzítési módszer.
Ennek a penészszerkezetnek a kis vezetőoszlopa rögzítve van a kisülési lemezen, és mindkét végét a domború penész rögzítő tányérhoz és a konkáv sablonhoz illesztett gördülő interferencia vezeti. A rögzített vég és az illesztési alkatrész tényleges hossza csökken, ami javíthatja az irányítási pontosságot ugyanazon feldolgozási pontosság mellett.
4. A teljes penész teljesen beágyazott típusú, a karbantartást, a beállítást és a cserét kényelmessé teszi.
5. A penészszerkezet egyszerű és a gyártási ciklus rövid.
Csatolt képleírás

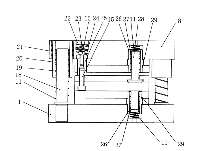
Az 1. ábra a jelen találmány elülső nézete, beleértve 1 alsó penészülést, 2 konkáv penészpárnát, 3 konkáv sablonot, 4 kisülési lemezt, 5 kisülési párnát, 6 konvex penész rögzítő tányérokat, 7 konvex penészpárnát, 8 felső formát, 9 csapot, 10 pár vezetékes csavarot, 11 rugó, 12 fejléces csavarok, 13 fővezetékes csavarok, 14 lyukasztó, 14 lyukasztó, 14 lyukasztó, 14 lyukasztó, 14, Penészblokkok és 17 emelési köröm.

A 2. ábra az 1. ábra oldalnézete, 18 nagy útmutatóval, 19 nagy vezetési hüvelygel, 20 nagy gömbhüvely, 21 ragasztó, 22 kompressziós csavar, 23 erős rugó, 24 azonos oszlopos alátét, 25 azonos oszlop, 26 kis vezetésű hüvely, 27 kis gömbhüvely, 28 kis útmutató és 29 anaerob ragasztó.

A 3. ábra az 1. ábra felső nézete.

A 4. ábra a meglévő kis útmutató oszlop szerkezetének vázlatos diagramja.

Az 5. ábra a jelen találmány specifikus bélyegzési halálát mutatja, amelyen sok üreg van.
Megtestesülés
A jelen találmányt tovább magyarázzuk a kísérő rajzokkal együtt
Amint az ábrán látható, a jelen találmány fő szerkezete tartalmaz egy alsó penész ülést, egy konkáv pad 2 -t, egy konkáv sablont, a 4 -es kisülési lemezt, az 5 -ös kisülési padot, a konvex penész rögzítőtáblát, a 7. konvex penészpadot és egy felső öntőszéket 8; Ezen túlmenően vannak belső és külső irányító mechanizmusok, ahol a külső irányító mechanizmus tartalmaz egy nagy vezetési oszlopot, egy nagy vezető hüvelyt, egy nagy gömbhüvely 20 -at és a 21 -es ragasztót, és a belső irányító mechanizmus tartalmaz egy kis vezetési oszlopot, egy kis vezetési ujjat, egy kis gömbhüvelyt és anaerob ragasztót 29. A fenti szerkezet kapcsolata.
Szerkezeti jellemzők
Ez a penész általában nyolc sablonból áll, alulról felfelé: alsó penész ülés 1., Concave Mold Pad 2, Concave Mold 3, kisülési lemez, 4 kisülési pad, Convex Mold rögzítő lemez 6, Convex Mold Pad 7 és a 8. felső oldat ülés.
A felső forma egy felső forma ülésből, egy konvex penészpadból, egy domború penész rögzítőtáblából, az 5 -es kisülési padból és a 4 -es kisülési lemezből áll. A 3. sablon, egy konkáv penész pad 2, és az alsó penész ülés 1, amelyeket a 15. és a 9. csapok belső hatszögletű csavarokkal és a 9 -es csapokkal összekapcsolnak.
2.
3. A 22 és az erős rugó 23-at a 8. felső öntőrészbe van felszerelve, és a felső öntőrészt a 4 kisülési lemezhez van csatlakoztatva a 15 csavaron keresztül, amely szerepet játszik a nagysebességű bélyegzés közbeni nyomásban és ürítésben.
4. Szerepet játszik a pozitív anyagcsík irányításában a nagysebességű bélyegzés során, és a teljes termékcsík méret referenciaként szolgál.
5.
6. A penész teljesen beágyazott típusú.
Termelési folyamat jellemzői
Annak a ténynek köszönhetően, hogy a konvex és a konkáv formák működési pontosságát teljes mértékben biztosítja a kisülési lemez, a kisülési lemez ürege és a konkáv sablon ürege közötti koncentritási követelmények különösen magasak.
Az általános bélyegző penészsablonok feldolgozási technológiája a következő: Anyagkészítés → Durva megmunkálás őrlési és fúrási fogókkal → hőkezelés → lapos őrlés → huzalvágás → szerelőegység; Amikor a sablont online vágják, az egyes darabokat a rajz szerint külön -külön dolgozják fel, és a sablon üregének megmunkálási pontosságát a szerszámgép pontossága teljesen garantálja, általában lassú huzalvágással.
Ez a feldolgozási technológia a két legkritikusabb sablont, a kisülési lemezt és a konkáv sablont összekapcsolja az online vágás során. Ez biztosítja a két sablon üreg koncentrikusságát, ezáltal biztosítva, hogy a bélyegzőformában a legfontosabb paramétert, a konvex és a konkáv formák közötti távolságot nem befolyásolja a sablonüreg -feldolgozási hibák. Ez nagymértékben csökkenti a nagy pontosságú szerszámgépektől való függőséget a sablon huzalvágás feldolgozása során. Még egy gyors vezetékes vágógéppel is nagy pontosságú formák készíthetők, ami nagy pontosságú termékeket eredményez.
2025 Március 4 -énHét WBM termékjavaslat:
Magas króm acélgolyók:
G5, G10, G16 A krómgolyónk általában a GBT 308 szerint termel. 1-2013 és ISO 3290-1: 2014 szabványok. A keménység testreszabott alapja lesz az Ön igényének.
https://www.bearingroller.com/rolling-elements/steel-ball/high-chrome-steel-balls.html

